盘后数据显示杠杠配资查询平台,5月8日龙虎榜中,共33只个股出现了机构的身影,13只股票呈现机构净买入,20只股票呈现机构净卖出。
当天机构净买入前三的股票分别是狄耐克、红墙股份、东华软件,净买入金额分别是3595万元、2984万元、2662万元。
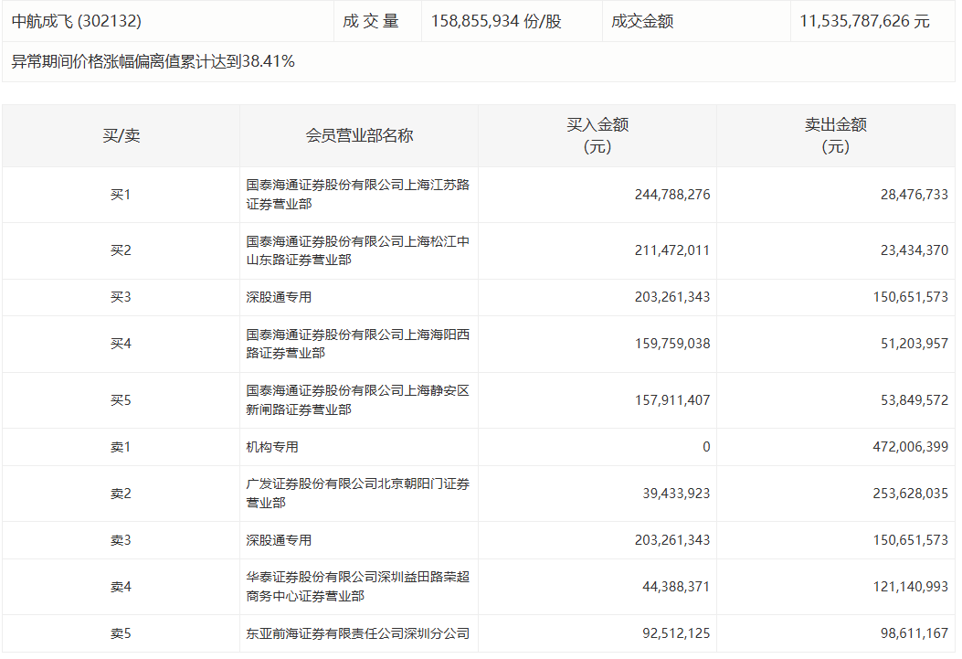
当天机构净卖出前三的股票分别是中航成飞、嵘泰股份、航天南湖,净流出金额分别是2.13亿元、1.74亿元、9470万元。
一财资讯
相关阅读中航成飞今日20%涨停,一家机构专用席位净卖出2.13亿元
38 05-08 16:38当天机构净买入前三的股票分别是分众传媒、中国中免、贝因美,净买入金额分别是5.13亿元、1.70亿元、9939万元。
250 04-10 18:44当天机构净买入前三的股票分别是信雅达、科伦药业、龙洲股份,净买入金额分别是1.64亿元、1.29亿元、2848万元。
159 04-01 18:40当天机构净买入前三的股票分别是矽电股份、赛意信息、宏景科技,净买入金额分别是3177万元、1695万元、1234万元。
165 03-31 18:23龙虎榜丨机构今日抛售这13股,买入汇洲智能1.23亿元
22 01-20 18:44 一财最热 点击关闭盛达优配提示:文章来自网络,不代表本站观点。